虽然液晶彩电的具体组成多种多样,输出值也不尽相同,但工作流程基本相同,如下图所示。接通后,副先工作,输出的+5V电压(常称为+5VSB或+5VS),供给信号板的CPU及遥控与按键电路,此时整机进入待机状态;二次开机后,三极管Q1导通,输出V电压(通常为+14V—+20V),供给PFC芯片及主电源芯片(在许多电源中,这两块芯合二为一),PFC电路工作,将+300V脉动直流电压升至约+380V的直流电压,主开关电源脉宽开始工作,这时才输出+5v、+12V及+24V电压,部分机还输出+14V或+18V电压,整机进入正常工作状态。

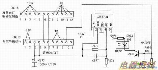
值得一提的是,也有少数开关电源的工作流程与上述有所不同,尤其是进口液晶电视,例如飞利浦32TA2800液晶彩电,接通电源后,该电源板上插座CN915的①~⑤脚和CN913的①、②脚输出+24V电压,分别送往背光灯驱动板及信号板,如下图所示。

信号板上的DC/DC变换将输入的电压+24V变换成低压,供给CPU及遥控接收电路,整机处于待机状态;二次开机后,CPU输出一个高开机信号,LA5779N工作,稳压后从②脚输出+12V电压,送往信号板,信号板上各电路开始工作,随即CPU输出背光灯“开”信号(高电平),背光灯点亮,整机进入正常工作状态。