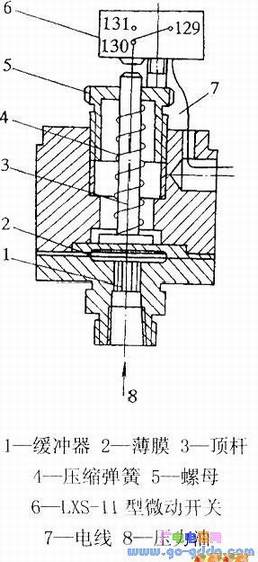
压力在控制系统中常用于机床的气压、水压和油压等系统中的保护。在操纵和控制系统中, 它可通过风动或液压系统的压力变化来控制机床的工作状态或发出相应的信号。压力继电器的结构如下图所示。
压力继电器由、橡皮薄膜、顶杆、压缩弹簧和微动开关等组成。微动开关和顶杆的距离一般大于0.2mm,压力继电器装在气路(或水路、油路)的分支管路中。当管路压力超过整定值时,通过缓冲器、橡皮薄膜抬被动层。当温度起顶杆,使微动开关动作,使触头129和130断开,129和131闭合。若管路中压力低于整定值后,顶杆脱离微动开关,使触头复位。
压力继电器的调整,非常方便,只须放松或拧紧调整螺母即可改变控制压力。
常用的压力继电器有YJ系列、TE52系列和YT一1226系列压力调节器等。
