有关漏电保护器跳闸的几大原因,漏电保护开关故障跳闸现象,漏电保护开关故障跳闸后,万万不可将漏电保护开关的漏电流检测环节摘掉,应根据故障跳闸现象,分析故障跳闸原因,找出解决故障方法。
漏电保护器跳闸故障的原因
漏电保护器不同于断路器和隔离开关。
断路器除了有分合电路功能外,还具有短路保护功能。隔离保护器只有分合电路功能。漏电开关除了分合电路功能,并有短路保护功能外,还具有漏电保护功 能(漏电电流在 30mA——500mA 不等)。
建筑供配电系统多采用 TN—C—S 系统。一般设置两级漏电保护开关。第一级设置在电源进户 处的总开关处,即电源进户处的总开关选用漏电电流值为 300mA——500mA 的 4 级(L1、L2、L3 和 N 线) 的漏电开关; 第二级设置在用户开关箱中的插座回路 (悬挂式空调回路允许不设置漏电开关),选用漏电电流值为 30mA 的 2 级(L1 或 L2 或 L3 和 N 线)的漏电开关。从而防止了用电人员触电事故的发生及提高了建筑供配电系统安全运行的可靠性。
本文就漏电保护开关故障跳闸现象进行了深入分析,意在呼吁漏电保护开关故障跳闸后,万万不可将漏电保护开关的漏电流检测环节摘掉。应根据故障跳闸现象,分析故障跳闸原因,找出解决故障方法。
漏电开关故障跳闸的6种现象:
第 1 种,用电设备本身绝缘损坏,导致用电时发生漏电开关故障跳闸现象;
第 2 种,线路潮湿绝缘强度降低,导致非用电时漏电开关故障跳闸现象;
第 3 种,人身意外触电,导致漏电开关故障跳闸现象;
第 4、5、6 种,施工安装时接线不正确,导致用电时发生漏电开关故障跳闸现象。
以下是对这漏电保护器跳闸的六个原因的详细分析:
第 1 种:用电设备本身绝缘损坏而漏电(设备中的 N 线与 PE 线短接)。如图 1 所示。故障现象:插座回路用电时,插座回路漏电开关跳闸。 故障原因:经分析线路接线正确无误,故判断为用电设备本身绝缘损坏而漏电(设备中的 N 线 与 PE 线短接) 。
解决方法:更换或维修用电设备。
第 2 种:线路潮湿绝缘强度降低。如图 1 所示。 故障现象:不用电时,也出现 AL1 中的总漏电开关或插座回路漏电开关跳闸。 故障原因:经分析,线路潮湿绝缘强度降低,导致漏电流超过了漏电开关允许漏电流值。也可 能因线路短路所致。
解决方法:烘干线路,提高绝缘强度。检查线路若是短路所致,排除短路故障。
第 3 种:有人触电,出现 AL1 中的总漏电开关或插座回路漏电开关跳闸。如图 1 所示。 故障现象:AL1 中的总漏电开关或插座回路漏电开关跳闸。 故障原因:有人触电。
解决方法:加强全民用电安全教育,避免触电事故发生。

第 4 种:施工安装时接线不正确,照明回路中将 N 线接到 PE 线上了。如图 2 所示。 故障现象:插座回路能正常用电,照明回路用电时,AL1 中的总漏电开关跳闸。 故障原因: 经分析, 施工安装时线路接线有误, 不正确。 将照明回路中的 N 线误接到 PE 线上了。
解决方法:将照明回路中的 PE 线改接到 N 线上。

第 5 种:施工安装时接线不正确,插座盒中的 N 线与 PE 线接错了。如图 3 所示。 故障现象:照明回路能正常用电,插座回路用电时,ALY 中的插座漏电开关跳闸,有时 AL1 中 的总漏电开关也跳闸。 故障原因:经分析,施工安装时线路接线有误,不正确。将插座盒中的 N 线与 PE 线接错了。
解决方法:将插座盒中的 N 线与 PE 线对调。

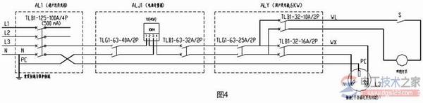
第 6 种:施工安装时接线不正确,在 AL1 箱中 N 线与 PE 线用混了。如图 4 所示。 故障现象:插座回路或照明回路用电时,AL1 中的总漏电开关都跳闸。 故障原因:经分析,施工安装时线路接线有误,不正确。将 AL1 箱中 N 线与 PE 线用混了。

解决方法:在 AL1 箱的总漏电开关负荷端,将 N 线与 PE 线对调。