本控制板基于P16F877A型,有丰富的外围接口,可以对绝大多数外围进行控制。同时,板上有指示灯、、4×4键盘等基本输入输出电路(均可再次扩展),可作为简易单片机实验板,非常适合单片机初学者和工程师。
本控制板电路由、复位、时钟、按键输入、LED显示、数码管显示、端口等部分组成,下面分别介绍。
工作原理
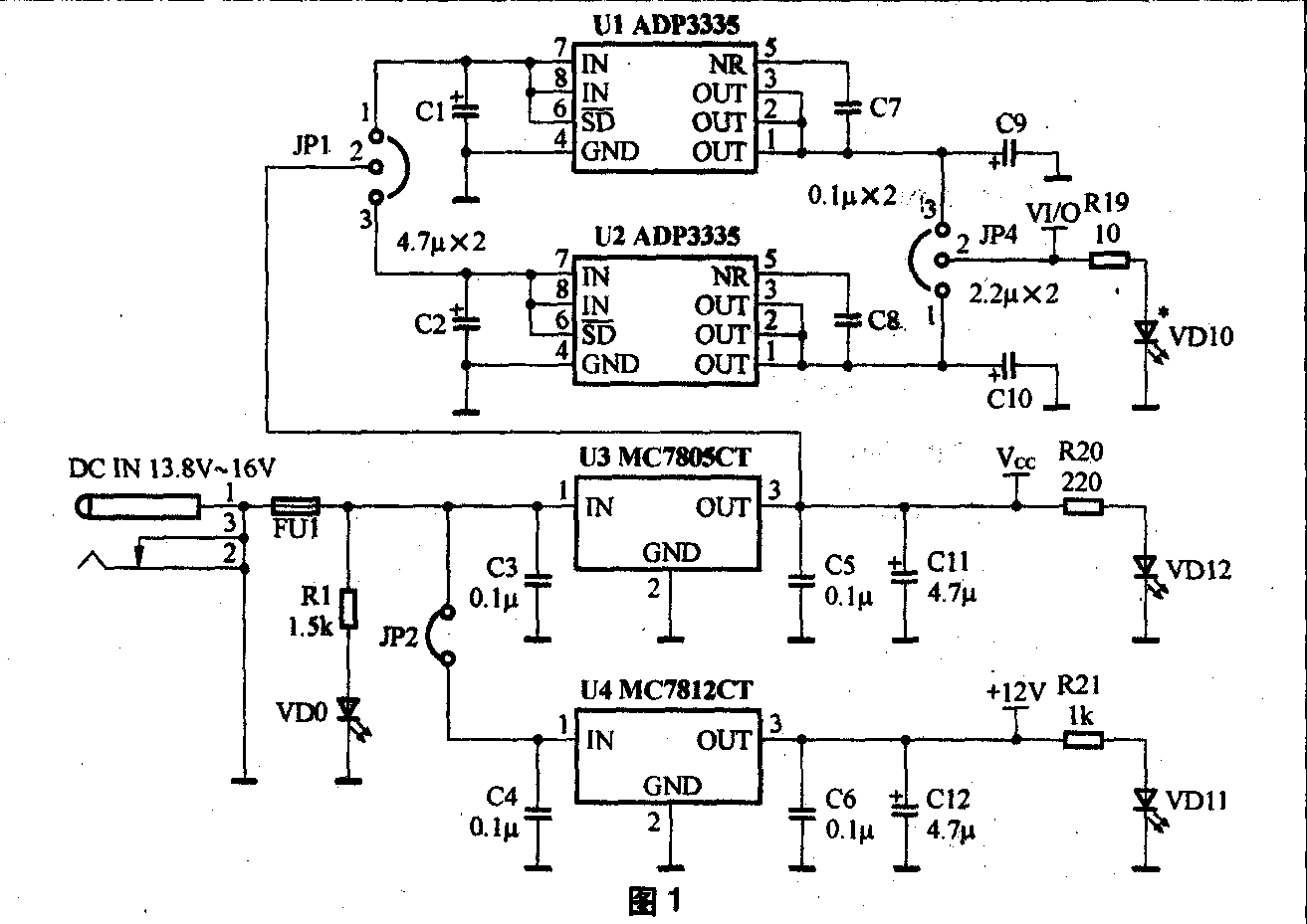
1.电路电源部分电路图如图1所示,主要由4个稳压集成块组成。U1和U2为转换芯片U5(见图7)、U10(见图5)提供逻辑电平参考。U3为本控制板的主要供电单元,负责为本控制板上的绝大多数集成块供电,同时其输出的+5V电压经JP1和JP4做切换供给U1或U2进行稳压输出,为U5和U10提供逻辑转换电压标准。U4为一个扩展单元,其主要是为了方便向外围电路提供12V电源输出而设计的,在实际应用中可根据自己的需要来决定是否安装,同样VD0、VD10、VD11、VD12及其限流是起指示作用,读者可根据需要来安装。

2.复位电路
复位电路如图2所示。这是一个在PIC单片机里很常见的上电复位与手动复位相结合的电路,其中R25为限流用来保护MCLR引脚内部电路,R23与VD1组成泄放电路,是为了让C14快速放电,避免再次上电时造成的复位不可靠。如若去掉VD1和C14则此复位电路变成了一个人工复位电路,当按下RESET单片机才复位。至于采用哪种形式的复位电路读者可自行选择。
3.时钟振荡电路
时钟振荡部分原理图如图3所示。
本电路有两套时钟电路,其中第一套由B1和U6及其外限元件组成,第二套由B2与C15和C17组成,其中第一套时钟振荡电路可用于同时向本控制板和外围电路提供时钟信号,以便协同工作。U6和B1组成并联振荡电路,其中由U6A提供了一个并联振荡所需要的近180度的相移,R27为其提供一个负反馈,R26使其偏置在线性区,R24与R28是用来防止B1过驱动用的。B2与其C15、C17和R29组成了很常见的外围振荡电路,其中R29用来防止B2过驱动,一般情况下可用导线直接连通。
4.显示部分
显示部分如图4所示。由于RD端口可输出20mA的,所以三位LED配置为共阴动态扫描方式,当需要外扩显示单元或做另外用途时可关断SW4和SW6,这样就不会造成相互影响。
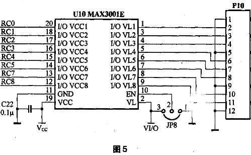
5.端口电平转换电路
端口电平转换部分的电路如图5所示,此处仅以RC口为例,RA口的电平转换与此相同。电路采用美国美信公司生产的逻辑电平转换芯片MAX3001E,其最快为4Mbit/s。其中EN为使能端,VL为输出电平参考电压输入端(对应于P10口上的输出逻辑电压标准),在本电路中VL端的参考电压由U1或U2提供。例如当选择由U1供电时,则P10和P1口的输出逻辑电压标准为U1的输出电压,U1和U2通常选用3.3V和1.8V的LDO。当VL端置地的时候,其I/O V口为高阻态(三态)。
![]() |
![]() |
6.USART部分
USART意为通用同步/异步收发器,由于16F877A的USART端口电平与PC机的不同,所以本电路中使用MAX232来完成电平转换以便与PC通信。这部分电路非常标准,很多文章都有介绍其原理,如MAX232的数据手册,在这里就不再赘述了。路如图6所示。


