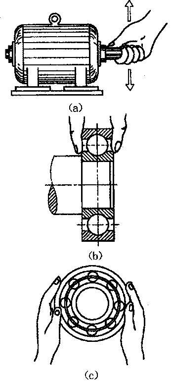
在电动机断开的情况下,手握电动机的转轴,用一定的力量上下摇动,操作如下图(a)所示。若发现松动现象,而又超过定子铁心和转子铁心的正常间隙,说明轴承已损坏。
检查电动机轴承间隙,可用拇指和食指捏住外环的两边,在用力将外环转动的过程中,突然把手指松开,借助外环惯性旋转之时,仔细倾听外环在转动中所发出的声音。如果此时噪音较大,观察外环在转动时有扭动和振动现象,这就表明间隙过大。然后再用拇指和食指捏住外环,将外环顺着轴向左右摇摆多次,如下图(b)所示,如果摇摆度大,则证明这只轴承的间隙过大。
如果是使用中的、向心球轴承,清洗干净以后,可用两只手的拇指和食指同时捏在两边缘上,如下图(c)所示。
并将内环和滚动体朝轴向方向来回摇晃,若有“嗓嗓”的响声,说明间隙过大。
