一、开关管、行输出的应急代换
1.开关管:外形以大代小(例1]金星C514彩电(TDA两片机)开关管BUTllA(TO-220外形),用BIJ508A(1500V/7.5A/75W,TOP-3A外形)代换成功。
[例2]飞利浦20CT6050彩电开关管2SC3169(500V/2A/25W,TO-220外形,图中标示型号为BUX84)击穿。用2SDl403(TOP-3A外型)代换成功。代换中发现该管β值必须大于10。
用“大管”代“小管”时。如果在散热片原固定孔上方还有一个备用孔,即可以直接安装,有的却需要重新钻孔。钻孔后要注意把散热片修平,使安装面平贴,利于散热。“大管”的管脚较宽。需要纵向剪窄或将焊孔扩大才能穿入焊牢。
2.塑封管代换金封管
不少早期生产的彩电中开关管或行管为金属封装型。实践证明完全可以用性能好、价格低的塑封管代换。
(例3]长城JTC47l彩电开关管2SD820(1500V/5M50W,TO-3外形)击穿,用塑封管2SDl403代换后工作正常。
[例4]快乐HC2061彩电行管2SD870(1500V/5M50W,外形TO-3)击穿,用塑封管2SDl427代换后工作正常。
塑封管代换金封管的方法参见右图。用距b、e脚较远的安装孔固定塑封管,b、e脚向后弯90°从散热片的孔中穿出。为防止与散热片相碰,须套上黄蜡管,然后焊上对应的引线。集电极引线可视情况仍用原来的焊片和引线固定在安装孔的螺钉上。
也可以直接焊在c极引线上。代换时要注意做好c极与散热片之间的绝缘处理。
3.有,无阻尼管的行管互相代换
[例5]金星C56-402(机心)彩电行管2SC2027。(1500V/5M50W)击穿。该机心14英寸和2l英寸彩电行管多用2SCl942(1500V/3A/50W),均为不带阻尼的金封管。用自身有阻尼管的2SDl427代换后,拆下原机上的D702(GH-35)收存。排除其他故障后整机工作正常。
[例6]昆仑S5ll一2P彩电行管2SDl426击穿。上门修理时备件刚好用完,于是用自身不带阻尼管的2SDl403代换。
2SD1403的m、均大于原件,二者特征同为3M。换行管后在电路板下2SDl403的c、e极间并接一支阻尼(正极接地),又在b、e极间并联一支47Ω,以模拟2SDl426的特性,结果获得成功。
二、(F.B.T)的应急处理
l.显像管灯丝悬浮供电彩电显像管阴极碰板故障后出现很亮的单色光栅、且满屏回扫线。该阴极降为OV。
应急处理方法是:首先测量并记录灯丝电压的原值做好记录。然后断开显像管灯丝接地脚并在另一脚的限流之前切断印刷电路。在F.B.T磁心上用塑胶导线绕2~3圈后接至上述断点的显像管。测量此时的灯丝电压如果与原供电电压有差异,可调换限流解决。
注:此法不适合I2C总线彩电,否则会引起机器保护。
2.调节F.B.T的输出电压
[例7]乐华R2917彩电F.B.T损坏,用高路华29英寸的F.
B.T(南京广播电视配件厂产BS27-0501型)代换后,场电压为34.6V。高于手册中场输出块TDA3654B的25V典型工作电压。试在F.B.T磁心上用塑胶导线绕6圈。再与原绕组反向串联,电源电压降至27V,满足了工作要求,场输出块也不再发烫。
[例8]孔雀K047-39彩电(83P机心)换F.B.T后行幅很大,行0.3~O.47A也偏大。换行逆程无效,行管很烫。连续烧毁2支。后查资料得知该机与其他83P机心彩电的行偏转线圈差别较大,于是试在F.B.T磁心上用塑胶导线绕24圈,串入行偏转线圈后,行幅恢复正常(如行幅更大则要对调线头)。这时行电流降至0.2~0.22A。行管温热,整机正常。
三、临时改动电路
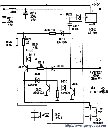
(例9]一台松下TC2550R型彩电(MX-2X机心),故障为开机后、指示灯不亮。开盖后检查+B=55.9V,电源部分有间歇起振的叫声,似为待机状态但是不能二次开机。
从+B=55.9V可以看出:能工作,无大问题,且+B无短路故障。从二次开机无反应而不是工作一下再转为待机看,不像是进入了保护状态。进一步测量,发现CPU无5V工作电压,但对地未短路。分析认为此例是二次开机电路故障。
该机相关电路如左图。CPU(ICl 102)(29)脚来的工作/待机控制电压加到Q806的b极,低(0V)时为工作状态,高电平(5V)时为待机状态。试断开Q806处的跨线J83后,再将其ce极短接以进行强制开机,结果+B=140V,电视机收视正常。这时按待机键,由于Q806、0803、Q802工作状态不会改变,故各路电压不降低。仅CPU转为待机状态——显示黑的图像、静音。再按待机键可以恢复正常(二次开机)。由此进一步确定故障在待机电路。
当时是在外地修机,时间有限,用户急等收看精彩节日。便与之商量。使彩电暂时工作在Q806管b极断开,ce短接到强制开机状态应急使用。
这样的改动还考虑了与之相关的保护电路:如果行管出现击穿故障。仍然可以拉低光耦D803内部负极的电平。使开关电源进入保护状态,所以原有的保护功能未受影响。
事后,再次上门从容检修,此例故障原因是R833开路。
临时改动电路是在一时不能找到故障点或没有备件的情况下采取的一种应急措施。不得不采取这种办法时,应该仔细分析电路。除了保持彩电的主要功能之外,还要尽量不影响保护电路的功能。并且在找到故障原因后尽早修复原电路。笔者希望通过本实例介绍一个可供参考的思路而不是一个固定的模式,更不是提倡随意改动电路或随意改变元件参数(如电阻值),以免人为制造出故障隐患。
应急处理还包括很多内容。比如开关电源的整体代换或换用电源膜块、的代换、大屏幕彩电的摘板检修等等。这些话题将另文讨论。