逆变焊机内一般都装有两个散热风扇,常因缺相烧毁。
缺相时,略有降低,短时间内并不影响焊接作业,所以不易及时察觉,但风扇却烧坏了。
对此,除了勤检查外,可以给风扇加装一个简单的缺相保护。
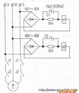
如图所示。J1、J2是两个380V的直流,当A相缺失时.J2不吸合;当C相缺失时,J1不吸合;当B相缺失时,Jl和J2都不吸合,此时风扇都不能得电。为了防止开机时正常,使用时缺相.(缺相的那根线上有经电动机线圈降压后返回的另一)而使Jl或J2不能释放(继电器的特性决定了其释放远远低于启动吸合电压).所以在Jl和J2的线圈上串联了一个阻容回路。原理是:开机瞬间,可流过充电电流,Jl和J2能可靠吸合。随后,充满了电无充电电流,上就产生了压降,Jl和J2就在较低的电压下维持吸合。缺相时,由于电动机返回的电压已低于继电器的维持吸合电压.Jl或J2释放,电扇得到保护。
图中,R1和R2的阻值据实际确定,以调整到正常状况下时继电器能够可靠吸合而稍有余量为准。
由于风扇电流很小,所以一般小型继电器的触点便能满足负荷要求。
焊机内空间较大,保护电路少量元件可任意安放于合适位置。
