闭环霍尔电流传感器的工作原理


  介绍了闭环的工作原理及在地面车用系统中的应用,实现了对车用系统输出电流的隔离测量、控制,解决了地面车辆的大功率发电系统的限流保护问题。

  关键词:闭环;霍尔电流传感器;车用电源;应用

  1    引言  

    地面车用电源系统(以下简称电源系统)输出电流的检测与控制,直接关系着电源系统工作的稳定性和可靠性,并影响车辆的运行状况及车辆的可操作性。由于车辆复杂的使用条件导致车用电源的变化较大,随之电源的输出功率也将发生较大变化,若对电源的输出电流不加限制,会造成电源因过载而发热,影响其功率输出,严重情况下会导致电源永久失效。

    闭环霍尔电流传感器(以下简称传感器)在车用电源系统中的应用,实现了对电源系统输出电流的隔离测量,并通过反馈控制电源系统的输出电流。当电源的输出电流接近电源系统的设计功率输出时,电源输出电流将不再增加,从而限制了电源系统的输出功率,保护了电源系统不会因用电负载的变化而损坏。

  2    闭环霍尔传感器的工作原理

    自1879年美国物理学家Edwin Herbert Hall发现霍尔效应以来,霍尔技术被越来越多地应用于工业控制的各个领域。随着元器件工艺技术的发展,由应用开发的霍尔电流、传感器的性能也有了很大提高,特别是闭环霍尔电流、电压传感器的研制成功,大大地扩展了该项技术的应用领域。

  2.1    霍尔效应及霍尔器件

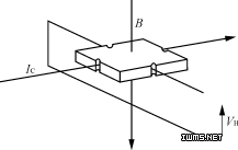
    霍尔效应是霍尔技术应用的理论基础,当通有小电流的半导体薄片置于磁场中时(如图1),半导体内的载流子受洛伦兹力的作用发生偏转,使半导体两侧产生电势差,该电势差即为霍尔电压VHVH与磁感应强度B及控制电流IC成正比,经过理论推算有式(1)关系。

    VH=(RH/d)×B×IC(1)

式中:B为磁感应强度;

      IC为控制电流;

      RH为霍尔系数;

      d为半导体厚度。

    式(1)中,若保持控制电流IC不变,在一定条件下,可通过测量霍尔电压推算出磁感应强度的大小,由此建立了磁场与电压信号的联系。根据这一关系式,人们研制出了用于测量磁场的半导体器件,即霍尔器件。

图1    霍尔效应原理