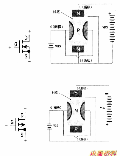
下图A是N沟道MOS管的符号,D是漏极,S是源极,G是栅极,中间的箭头表示衬底,如果箭头向里表示是N沟道的MOS管,箭头向外表示是P沟道的MOS管,如下图A所示。在实际MOS营生产的过程中,衬底在出厂前就和源极连接,所以在符号的规则中表示衬底的箭头也必须和源极相连接,以区别漏极和源极。
MOS管应用的极性和我们普通的晶体三极管相同,N沟道的类似NPN晶体三极管,漏极D接正极,源极S接负极,栅极G为正电压时导电沟道建立,如上图B所示。同样p沟道的类似晶体三极管,漏极D接负极,源极S接正极,栅极G为负电压时导电沟道建立,如下图B所示。
