空气阻尼式时间继电器


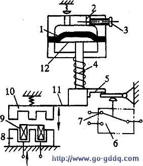
  空气阻尼式时间的常见产品为JS7-A型。其结构主要由:电磁系统、工作触头(即微动开关)、空气室及传动机构等组成。

  这种继电器有通电延时与断电延时两种类型。下面仅说明通电延时的工作原理,如图所示。当线圈通电时,衔铁“10”及1-橡皮膜2-进气孔3-调节延时固定在它上面的螺钉4-活塞杆5-撞块6-微动托板“11”被铁心开关7-触头8-铁心9-线圈   
线圈“9”吸引而10-衔铁11-托板12-活塞    下落,这时固定图2 JS7-A型空气阻尼时间继电器在活塞杆“4”上的撞块因失去托板“11”的支持而向下运动,同时带动与活塞“12”相连的橡皮膜了也向下运动,但由于受到空气的阻尼作用,所以活塞杆“4”下落缓慢经过一定的时间后,才能触动微动开关“6”的推杆使它的常开触头闭合(常闭触头断开)。

  延时的长短,可从线圈通电开始到触头动作为止这段时间来决定。橡皮膜向下运动的快慢与空气阻力的大小(进气量的多少)有关,进气量多,延时时间短;进气量少,延时时间就长,所以调节进气量的多少就可以调节延时时间的长短。进气量的多少,靠调节延时螺钉“3”来改变。