联栅是一种新型功率开关半导体器件,简称GAT。GAT是介于双极型晶体管(BJT)和场效应晶体管(FET)之间的特种器件,兼有BJT和FET的双重优点,
特别适合用作荧光灯电子中的功率开关。其主要特点为:(1)动态损耗小,开关速度快;(2)二次耐压高,功率容量和安全工作区大;(3)具有负的,热稳定性好:(4)抗冲击能力和抗高频辐射能力强,保证工作的稳定。
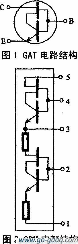
GAT的等效电路结构如图1所示。国外型号有:C2621、C2333等,2SG系列是国产代表性产品之一。目前有的厂家将两只GAT接成推拉方式封装在一起,组成模块,给使用带来方便。图2示出的是2DM模块的内部结构,2DM模块的型号及主要特性参数如表1所示。采用2DM模块作功率开关器件的16 w双D型电子节能灯电路如图3所示。除采用GAT作为功率开关晶体管取代BJT或VD—MOST外,就电路结构本身而言,并没有特别之处。
GAT的特性比较接近双极性静应晶体管(BsIT)。使用这种器件时应注意以下几点:(1)GAT属于 驱动型,其激励幅度比一般BJT高,峰值驱动脉冲达3.5 V左右。因此,为选择最佳工作点,对脉冲初、次级绕组匝数及基极限流应调整到合适值,否则GAT将无法正常工作;(2)GAT的略高于BJT,但低于FET,当其工作于高频状态下时,可在输入回路并一只容量合适的小;(3)GAT开关速度非常快,使用中应注意设法避免或抑制寄生振荡。
