LCM常见装配方式


需要大图片请下载

_HSC_BL(导电纸连接,带背光)

COB_HSC(导电纸连接,不带背光)

COB_BZ_BL(铁框装配,带背光)  

COB_BZ(铁框装配,不带背光)

COG_(金属引脚连接)

COG_HSC(导电纸连接)

COG_C(FPC连接)

COG(无任何连接物)

TAB_HSC(导电纸)

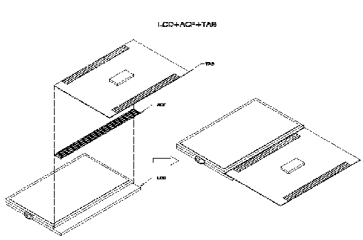
TAB

COF